Сценические конструкции
Сортировка
Цена (по возрастанию)
Под заказ
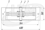
Арт: 00-31680
0
Уточняйте цену
Под заказ
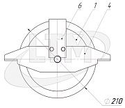
Арт: 00-55091
0
Уточняйте цену
 копия 4.jpg)